Coș de anchetă (0)
Seria de presiune
Scanați pentru a vizita| Preț unitar: | USD 30 / Piece/Pieces |
|---|---|
| Min. Ordin: | 5 Piece/Pieces |
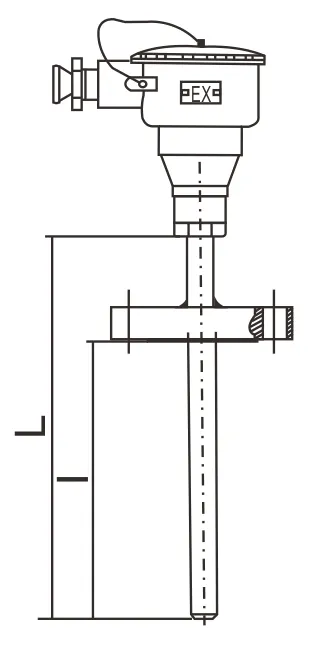
Numarul modelului.: WZ/R
a lua legatura: Contact
Output Signal Type: Digital Type
Production Process: Integration
Material: Ceramics
Measuring Medium: Gas/liquid
IP Rating: Ip65
Certificare: CE/ISO/Sil
Customized: Customized
Circuit Type: 2-, 3-, 4-Wire
Measuring Range: -200~650ºC
Anti-Hazard Classification: Exd Iict6
Logarithmic Thermoresistance: Single-Tube Type / Double-Tube Type (Not Applicabl
Transport Package: Carton Packing
Specification: PCS
Trademark: HUANGONG
Origin: China
Capacitatea de producție: 120000 Pieces / Year
Customization: Available
Installation Type: Flange Type
Sensing Type: Rtd/Thermocouple
Costul de expediere: Contact the supplier about freight and estimated delivery time.
Numarul modelului.: WZ/R-1
ambalare: Ambalare din carton
Transport: Ocean,Land,Air,Express
Abilitatea de alimentare: 120000 Pieces / Year
Port: ningbo
| Model No. | Graduated number | Nominal resistance value at 0°C R (0°C) (Ω) | Resistance Ratio R100/R(0ºC) |
Temperature Measurement Range, Accuracy Grade and Tolerance | |
| Temperature Measurement Range (ºC) | Accuracy Class and Tolerance | ||||
WZP |
PT10 | 10 | 1.3850 | Ceramic element: -200~+600 Glass element: -200~+500 Mica components: -100~+420 |
Grade A:±(0.15+0.2% |t|) Grade B:±(0.3+0.5% |t|) |
| PT100 | 100 | ||||
| WZC | Cu10 | 50.00 ±0.05 | 1.4280±0.0020 | -50~+100 | ±(0.30+0.006 |t|) |
| Cu100 | 100.00 ±0.10 | ||||
| Remarks | Cu100 copper RTDs and PT10 resistors need to be supplied by agreement. | ||||






Categorii de produse : Sectiunea de temperatura > Senzori de temperatură







Site-ul mobil Index.
Harta site-ului 
Aboneaza-te la newsletter-ul nostru:
Obțineți actualizări, reduceri, speciale
Oferte și premii mari!